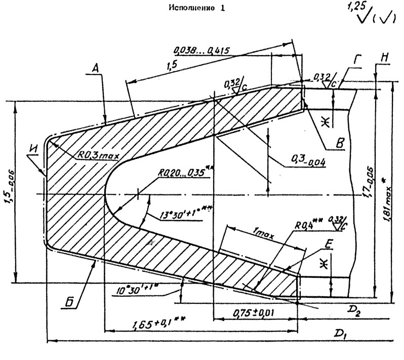
ОСТ 1 13717-80 КОЛЬЦА УПЛОТНИТЕЛЬНЫЕ упругие металлические
Кольца уплотнительные по ОСТ 13717-80 – это специальный крепеж, предназначенный для герметизации высокотемпературных неподвижных торцовых и фланцевых соединений топливных, масляных, пневматических и гидравлических систем авиадвигателей.
КОНСТРУКЦИЯ И ТЕХНИЧЕСКИЕ ОСОБЕННОСТИ
Конструкция состоит из кольца.
Материал изготовления: сплав 10Х11Н23Т3МР (ЭИ-696М) ТУ 14-1-312-72.
Материал покрытия: лак ПАК-1 ТУ 6-05-1608-73.
Пример наименования и обозначения кольца уплотнительного упругого металлического исполнения 2 для наружного диаметра канавки D=60мм из сплава 10Х11Н23Т3МР (ЭИ-696М):
Кольцо 2-60-ОСТ 1 13717-80
ПРИМЕНЕНИЕ
Данные кольца используются в авиапромышленности.
АНАЛОГИ
| ОСТ/ГОСТ | Нормаль | Наименование | Типоразмер | На складе |
| ОСТ 1 13717-80 | Кольцо | 1х10 | В наличии | |
| ОСТ 1 13717-80 | Кольцо | 1х11 | В наличии | |
| ОСТ 1 13717-80 | Кольцо | 1х12 | В наличии | |
| ОСТ 1 13717-80 | Кольцо | 1х13 | В наличии | |
| ОСТ 1 13717-80 | Кольцо | 1х14 | В наличии | |
| ОСТ 1 13717-80 | Кольцо | 1х15 | В наличии | |
| ОСТ 1 13717-80 | Кольцо | 1х16 | В наличии | |
| ОСТ 1 13717-80 | Кольцо | 1х17 | В наличии | |
| ОСТ 1 13717-80 | Кольцо | 1х18 | В наличии | |
| ОСТ 1 13717-80 | Кольцо | 1х19 | В наличии | |
| ОСТ 1 13717-80 | Кольцо | 1х20 | В наличии | |
| ОСТ 1 13717-80 | Кольцо | 1х21 | В наличии | |
| ОСТ 1 13717-80 | Кольцо | 1х22 | В наличии | |
| ОСТ 1 13717-80 | Кольцо | 1х23 | В наличии | |
| ОСТ 1 13717-80 | Кольцо | 1х24 | В наличии | |
| ОСТ 1 13717-80 | Кольцо | 1х25 | В наличии | |
| ОСТ 1 13717-80 | Кольцо | 1х26 | В наличии | |
| ОСТ 1 13717-80 | Кольцо | 1х27 | В наличии | |
| ОСТ 1 13717-80 | Кольцо | 1х28 | В наличии | |
| ОСТ 1 13717-80 | Кольцо | 1х29 | В наличии | |
| ОСТ 1 13717-80 | Кольцо | 1х30 | В наличии | |
| ОСТ 1 13717-80 | Кольцо | 1х31 | В наличии | |
| ОСТ 1 13717-80 | Кольцо | 1х32 | В наличии | |
| ОСТ 1 13717-80 | Кольцо | 1х33 | В наличии | |
| ОСТ 1 13717-80 | Кольцо | 1х34 | В наличии | |
| ОСТ 1 13717-80 | Кольцо | 1х35 | В наличии | |
| ОСТ 1 13717-80 | Кольцо | 1х36 | В наличии | |
| ОСТ 1 13717-80 | Кольцо | 1х37 | В наличии | |
| ОСТ 1 13717-80 | Кольцо | 1х38 | В наличии | |
| ОСТ 1 13717-80 | Кольцо | 1х39 | В наличии | |
| ОСТ 1 13717-80 | Кольцо | 1х40 | В наличии | |
| ОСТ 1 13717-80 | Кольцо | 1х41 | В наличии | |
| ОСТ 1 13717-80 | Кольцо | 1х42 | В наличии | |
| ОСТ 1 13717-80 | Кольцо | 1х43 | В наличии | |
| ОСТ 1 13717-80 | Кольцо | 1х45 | В наличии | |
| ОСТ 1 13717-80 | Кольцо | 1х48 | В наличии | |
| ОСТ 1 13717-80 | Кольцо | 1х50 | В наличии | |
| ОСТ 1 13717-80 | Кольцо | 1х51 | В наличии | |
| ОСТ 1 13717-80 | Кольцо | 1х53 | В наличии | |
| ОСТ 1 13717-80 | Кольцо | 2х20 | В наличии | |
| ОСТ 1 13717-80 | Кольцо | 2х20,5 | В наличии | |
| ОСТ 1 13717-80 | Кольцо | 2х21 | В наличии | |
| ОСТ 1 13717-80 | Кольцо | 2х22 | В наличии | |
| ОСТ 1 13717-80 | Кольцо | 2х23 | В наличии | |
| ОСТ 1 13717-80 | Кольцо | 2х24 | В наличии | |
| ОСТ 1 13717-80 | Кольцо | 2х25 | В наличии | |
| ОСТ 1 13717-80 | Кольцо | 2х26 | В наличии | |
| ОСТ 1 13717-80 | Кольцо | 2х27 | В наличии | |
| ОСТ 1 13717-80 | Кольцо | 2х28 | В наличии | |
| ОСТ 1 13717-80 | Кольцо | 2х29 | В наличии | |
| ОСТ 1 13717-80 | Кольцо | 2х30 | В наличии | |
| ОСТ 1 13717-80 | Кольцо | 2х31 | В наличии | |
| ОСТ 1 13717-80 | Кольцо | 2х32 | В наличии | |
| ОСТ 1 13717-80 | Кольцо | 2х33 | В наличии | |
| ОСТ 1 13717-80 | Кольцо | 2х34 | В наличии | |
| ОСТ 1 13717-80 | Кольцо | 2х35 | В наличии | |
| ОСТ 1 13717-80 | Кольцо | 2х36 | В наличии | |
| ОСТ 1 13717-80 | Кольцо | 2х38 | В наличии | |
| ОСТ 1 13717-80 | Кольцо | 2х38,5 | В наличии | |
| ОСТ 1 13717-80 | Кольцо | 2х40 | В наличии | |
| ОСТ 1 13717-80 | Кольцо | 2х41 | В наличии | |
| ОСТ 1 13717-80 | Кольцо | 2х42 | В наличии | |
| ОСТ 1 13717-80 | Кольцо | 2х44 | В наличии | |
| ОСТ 1 13717-80 | Кольцо | 2х45 | В наличии | |
| ОСТ 1 13717-80 | Кольцо | 2х46 | В наличии | |
| ОСТ 1 13717-80 | Кольцо | 2х47 | В наличии | |
| ОСТ 1 13717-80 | Кольцо | 2х48 | В наличии | |
| ОСТ 1 13717-80 | Кольцо | 2х49 | В наличии | |
| ОСТ 1 13717-80 | Кольцо | 2х50 | В наличии | |
| ОСТ 1 13717-80 | Кольцо | 2х52 | В наличии | |
| ОСТ 1 13717-80 | Кольцо | 2х54 | В наличии | |
| ОСТ 1 13717-80 | Кольцо | 2х55 | В наличии | |
| ОСТ 1 13717-80 | Кольцо | 2х56 | В наличии | |
| ОСТ 1 13717-80 | Кольцо | 2х58 | В наличии | |
| ОСТ 1 13717-80 | Кольцо | 2х59 | В наличии | |
| ОСТ 1 13717-80 | Кольцо | 2х60 | В наличии | |
| ОСТ 1 13717-80 | Кольцо | 2х62 | В наличии | |
| ОСТ 1 13717-80 | Кольцо | 2х64 | В наличии | |
| ОСТ 1 13717-80 | Кольцо | 2х65 | В наличии | |
| ОСТ 1 13717-80 | Кольцо | 2х66 | В наличии | |
| ОСТ 1 13717-80 | Кольцо | 2х68 | В наличии | |
| ОСТ 1 13717-80 | Кольцо | 2х69 | В наличии | |
| ОСТ 1 13717-80 | Кольцо | 2х72 | В наличии | |
| ОСТ 1 13717-80 | Кольцо | 2х74 | В наличии | |
| ОСТ 1 13717-80 | Кольцо | 2х76 | В наличии | |
| ОСТ 1 13717-80 | Кольцо | 2х78 | В наличии | |
| ОСТ 1 13717-80 | Кольцо | 2х79 | В наличии | |
| ОСТ 1 13717-80 | Кольцо | 2х82 | В наличии | |
| ОСТ 1 13717-80 | Кольцо | 2х84 | В наличии | |
| ОСТ 1 13717-80 | Кольцо | 2х86 | В наличии | |
| ОСТ 1 13717-80 | Кольцо | 2х89 | В наличии | |
| ОСТ 1 13717-80 | Кольцо | 2х92 | В наличии | |
| ОСТ 1 13717-80 | Кольцо | 2х94 | В наличии | |
| ОСТ 1 13717-80 | Кольцо | 2х96 | В наличии | |
| ОСТ 1 13717-80 | Кольцо | 2х98 | В наличии | |
| ОСТ 1 13717-80 | Кольцо | 2х101 | В наличии | |
| ОСТ 1 13717-80 | Кольцо | 2х103 | В наличии | |
| ОСТ 1 13717-80 | Кольцо | 2х105 | В наличии | |
| ОСТ 1 13717-80 | Кольцо | 2х108 | В наличии | |
| ОСТ 1 13717-80 | Кольцо | 2х111 | В наличии | |
| ОСТ 1 13717-80 | Кольцо | 2х113 | В наличии | |
| ОСТ 1 13717-80 | Кольцо | 2х115 | В наличии | |
| ОСТ 1 13717-80 | Кольцо | 2х118 | В наличии | |
| ОСТ 1 13717-80 | Кольцо | 2х121 | В наличии | |
| ОСТ 1 13717-80 | Кольцо | 2х123 | В наличии | |
| ОСТ 1 13717-80 | Кольцо | 2х125 | В наличии | |
| ОСТ 1 13717-80 | Кольцо | 2х128 | В наличии | |
| ОСТ 1 13717-80 | Кольцо | 2х129 | В наличии | |
| ОСТ 1 13717-80 | Кольцо | 2х133 | В наличии | |
| ОСТ 1 13717-80 | Кольцо | 2х138 | В наличии | |
| ОСТ 1 13717-80 | Кольцо | 2х143 | В наличии | |
| ОСТ 1 13717-80 | Кольцо | 2х148 | В наличии | |
| ОСТ 1 13717-80 | Кольцо | 2х153 | В наличии | |
| ОСТ 1 13717-80 | Кольцо | 3х39 | В наличии | |
| ОСТ 1 13717-80 | Кольцо | 3х41 | В наличии | |
| ОСТ 1 13717-80 | Кольцо | 3х42 | В наличии | |
| ОСТ 1 13717-80 | Кольцо | 3х43 | В наличии | |
| ОСТ 1 13717-80 | Кольцо | 3х45 | В наличии | |
| ОСТ 1 13717-80 | Кольцо | 3х46 | В наличии | |
| ОСТ 1 13717-80 | Кольцо | 3х47 | В наличии | |
| ОСТ 1 13717-80 | Кольцо | 3х49 | В наличии | |
| ОСТ 1 13717-80 | Кольцо | 3х51 | В наличии | |
| ОСТ 1 13717-80 | Кольцо | 3х52 | В наличии | |
| ОСТ 1 13717-80 | Кольцо | 3х53 | В наличии | |
| ОСТ 1 13717-80 | Кольцо | 3х55 | В наличии | |
| ОСТ 1 13717-80 | Кольцо | 3х56 | В наличии | |
| ОСТ 1 13717-80 | Кольцо | 3х57 | В наличии | |
| ОСТ 1 13717-80 | Кольцо | 3х59 | В наличии | |
| ОСТ 1 13717-80 | Кольцо | 3х61 | В наличии | |
| ОСТ 1 13717-80 | Кольцо | 3х62 | В наличии | |
| ОСТ 1 13717-80 | Кольцо | 3х63 | В наличии | |
| ОСТ 1 13717-80 | Кольцо | 3х64 | В наличии | |
| ОСТ 1 13717-80 | Кольцо | 3х65 | В наличии | |
| ОСТ 1 13717-80 | Кольцо | 3х66 | В наличии | |
| ОСТ 1 13717-80 | Кольцо | 3х67 | В наличии | |
| ОСТ 1 13717-80 | Кольцо | 3х69 | В наличии | |
| ОСТ 1 13717-80 | Кольцо | 3х70 | В наличии | |
| ОСТ 1 13717-80 | Кольцо | 3х71 | В наличии | |
| ОСТ 1 13717-80 | Кольцо | 3х72 | В наличии | |
| ОСТ 1 13717-80 | Кольцо | 3х74 | В наличии | |
| ОСТ 1 13717-80 | Кольцо | 3х75 | В наличии | |
| ОСТ 1 13717-80 | Кольцо | 3х76 | В наличии | |
| ОСТ 1 13717-80 | Кольцо | 3х77 | В наличии | |
| ОСТ 1 13717-80 | Кольцо | 3х78 | В наличии | |
| ОСТ 1 13717-80 | Кольцо | 3х80 | В наличии | |
| ОСТ 1 13717-80 | Кольцо | 3х81 | В наличии | |
| ОСТ 1 13717-80 | Кольцо | 3х82 | В наличии | |
| ОСТ 1 13717-80 | Кольцо | 3х84 | В наличии | |
| ОСТ 1 13717-80 | Кольцо | 3х85 | В наличии | |
| ОСТ 1 13717-80 | Кольцо | 3х86 | В наличии | |
| ОСТ 1 13717-80 | Кольцо | 3х88 | В наличии | |
| ОСТ 1 13717-80 | Кольцо | 3х90 | В наличии | |
| ОСТ 1 13717-80 | Кольцо | 3х91 | В наличии | |
| ОСТ 1 13717-80 | Кольцо | 3х92 | В наличии | |
| ОСТ 1 13717-80 | Кольцо | 3х94 | В наличии | |
| ОСТ 1 13717-80 | Кольцо | 3х95 | В наличии | |
| ОСТ 1 13717-80 | Кольцо | 3х96 | В наличии | |
| ОСТ 1 13717-80 | Кольцо | 3х98 | В наличии | |
| ОСТ 1 13717-80 | Кольцо | 3х99 | В наличии | |
| ОСТ 1 13717-80 | Кольцо | 3х101 | В наличии | |
| ОСТ 1 13717-80 | Кольцо | 3х102 | В наличии | |
| ОСТ 1 13717-80 | Кольцо | 3х104 | В наличии | |
| ОСТ 1 13717-80 | Кольцо | 3х105 | В наличии | |
| ОСТ 1 13717-80 | Кольцо | 3х106 | В наличии | |
| ОСТ 1 13717-80 | Кольцо | 3х108 | В наличии | |
| ОСТ 1 13717-80 | Кольцо | 3х110 | В наличии | |
| ОСТ 1 13717-80 | Кольцо | 3х111 | В наличии | |
| ОСТ 1 13717-80 | Кольцо | 3х112 | В наличии | |
| ОСТ 1 13717-80 | Кольцо | 3х114 | В наличии | |
| ОСТ 1 13717-80 | Кольцо | 3х115 | В наличии | |
| ОСТ 1 13717-80 | Кольцо | 3х116 | В наличии | |
| ОСТ 1 13717-80 | Кольцо | 3х118 | В наличии | |
| ОСТ 1 13717-80 | Кольцо | 3х120 | В наличии | |
| ОСТ 1 13717-80 | Кольцо | 3х121 | В наличии | |
| ОСТ 1 13717-80 | Кольцо | 3х124 | В наличии | |
| ОСТ 1 13717-80 | Кольцо | 3х126 | В наличии | |
| ОСТ 1 13717-80 | Кольцо | 3х129 | В наличии | |
| ОСТ 1 13717-80 | Кольцо | 3х134 | В наличии | |
| ОСТ 1 13717-80 | Кольцо | 3х139 | В наличии | |
| ОСТ 1 13717-80 | Кольцо | 3х144 | В наличии | |
| ОСТ 1 13717-80 | Кольцо | 3х149 | В наличии | |
| ОСТ 1 13717-80 | Кольцо | 3х154 | В наличии | |
| ОСТ 1 13717-80 | Кольцо | 3х159 | В наличии | |
| ОСТ 1 13717-80 | Кольцо | 3х163 | В наличии | |
| ОСТ 1 13717-80 | Кольцо | 3х168 | В наличии | |
| ОСТ 1 13717-80 | Кольцо | 3х173 | В наличии | |
| ОСТ 1 13717-80 | Кольцо | 3х178 | В наличии | |
| ОСТ 1 13717-80 | Кольцо | 3х183 | В наличии | |
| ОСТ 1 13717-80 | Кольцо | 3х188 | В наличии | |
| ОСТ 1 13717-80 | Кольцо | 3х193 | В наличии | |
| ОСТ 1 13717-80 | Кольцо | 3х199 | В наличии | |
| ОСТ 1 13717-80 | Кольцо | 3х203 | В наличии | |
| ОСТ 1 13717-80 | Кольцо | 3х208 | В наличии | |
| ОСТ 1 13717-80 | Кольцо | 3х213 | В наличии | |
| ОСТ 1 13717-80 | Кольцо | 3х218 | В наличии | |
| ОСТ 1 13717-80 | Кольцо | 3х223 | В наличии | |
| ОСТ 1 13717-80 | Кольцо | 3х227 | В наличии | |
| ОСТ 1 13717-80 | Кольцо | 3х237 | В наличии | |
| ОСТ 1 13717-80 | Кольцо | 3х242 | В наличии | |
| ОСТ 1 13717-80 | Кольцо | 3х247 | В наличии | |
| ОСТ 1 13717-80 | Кольцо | 3х253 | В наличии | |
| ОСТ 1 13717-80 | Кольцо | 3х277 | В наличии | |
| ОСТ 1 13717-80 | Кольцо | 3х303 | В наличии | |
| ОСТ 1 13717-80 | Кольцо | 4х61 | В наличии | |
| ОСТ 1 13717-80 | Кольцо | 4х64 | В наличии | |
| ОСТ 1 13717-80 | Кольцо | 4х66 | В наличии | |
| ОСТ 1 13717-80 | Кольцо | 4х67 | В наличии | |
| ОСТ 1 13717-80 | Кольцо | 4х71 | В наличии | |
| ОСТ 1 13717-80 | Кольцо | 4х72 | В наличии | |
| ОСТ 1 13717-80 | Кольцо | 4х73 | В наличии | |
| ОСТ 1 13717-80 | Кольцо | 4х75 | В наличии | |
| ОСТ 1 13717-80 | Кольцо | 4х80 | В наличии | |
| ОСТ 1 13717-80 | Кольцо | 4х82 | В наличии | |
| ОСТ 1 13717-80 | Кольцо | 4х85 | В наличии | |
| ОСТ 1 13717-80 | Кольцо | 4х90 | В наличии | |
| ОСТ 1 13717-80 | Кольцо | 4х92 | В наличии | |
| ОСТ 1 13717-80 | Кольцо | 4х95 | В наличии | |
| ОСТ 1 13717-80 | Кольцо | 4х96 | В наличии | |
| ОСТ 1 13717-80 | Кольцо | 4х98 | В наличии | |
| ОСТ 1 13717-80 | Кольцо | 4х100 | В наличии | |
| ОСТ 1 13717-80 | Кольцо | 4х102 | В наличии | |
| ОСТ 1 13717-80 | Кольцо | 4х105 | В наличии | |
| ОСТ 1 13717-80 | Кольцо | 4х108 | В наличии | |
| ОСТ 1 13717-80 | Кольцо | 4х110 | В наличии | |
| ОСТ 1 13717-80 | Кольцо | 4х112 | В наличии | |
| ОСТ 1 13717-80 | Кольцо | 4х115 | В наличии | |
| ОСТ 1 13717-80 | Кольцо | 4х118 | В наличии | |
| ОСТ 1 13717-80 | Кольцо | 4х120 | В наличии | |
| ОСТ 1 13717-80 | Кольцо | 4х122 | В наличии | |
| ОСТ 1 13717-80 | Кольцо | 4х125 | В наличии | |
| ОСТ 1 13717-80 | Кольцо | 4х128 | В наличии | |
| ОСТ 1 13717-80 | Кольцо | 4х130 | В наличии | |
| ОСТ 1 13717-80 | Кольцо | 4х134 | В наличии | |
| ОСТ 1 13717-80 | Кольцо | 4х139 | В наличии | |
| ОСТ 1 13717-80 | Кольцо | 4х144 | В наличии | |
| ОСТ 1 13717-80 | Кольцо | 4х149 | В наличии | |
| ОСТ 1 13717-80 | Кольцо | 4х154 | В наличии | |
| ОСТ 1 13717-80 | Кольцо | 4х159 | В наличии | |
| ОСТ 1 13717-80 | Кольцо | 4х164 | В наличии | |
| ОСТ 1 13717-80 | Кольцо | 4х169 | В наличии | |
| ОСТ 1 13717-80 | Кольцо | 4х174 | В наличии | |
| ОСТ 1 13717-80 | Кольцо | 4х179 | В наличии | |
| ОСТ 1 13717-80 | Кольцо | 4х184 | В наличии | |
| ОСТ 1 13717-80 | Кольцо | 4х194 | В наличии | |
| ОСТ 1 13717-80 | Кольцо | 4х199 | В наличии | |
| ОСТ 1 13717-80 | Кольцо | 4х203 | В наличии | |
| ОСТ 1 13717-80 | Кольцо | 4х208 | В наличии | |
| ОСТ 1 13717-80 | Кольцо | 4х213 | В наличии | |
| ОСТ 1 13717-80 | Кольцо | 4х218 | В наличии | |
| ОСТ 1 13717-80 | Кольцо | 4х223 | В наличии | |
| ОСТ 1 13717-80 | Кольцо | 4х228 | В наличии | |
| ОСТ 1 13717-80 | Кольцо | 4х233 | В наличии | |
| ОСТ 1 13717-80 | Кольцо | 4х238 | В наличии | |
| ОСТ 1 13717-80 | Кольцо | 4х243 | В наличии | |
| ОСТ 1 13717-80 | Кольцо | 4х248 | В наличии | |
| ОСТ 1 13717-80 | Кольцо | 4х253 | В наличии | |
| ОСТ 1 13717-80 | Кольцо | 4х257 | В наличии | |
| ОСТ 1 13717-80 | Кольцо | 4х262 | В наличии | |
| ОСТ 1 13717-80 | Кольцо | 4х267 | В наличии | |
| ОСТ 1 13717-80 | Кольцо | 4х272 | В наличии | |
| ОСТ 1 13717-80 | Кольцо | 4х277 | В наличии | |
| ОСТ 1 13717-80 | Кольцо | 4х282 | В наличии | |
| ОСТ 1 13717-80 | Кольцо | 4х287 | В наличии | |
| ОСТ 1 13717-80 | Кольцо | 4х292 | В наличии | |
| ОСТ 1 13717-80 | Кольцо | 4х297 | В наличии | |
| ОСТ 1 13717-80 | Кольцо | 4х302 | В наличии | |
| ОСТ 1 13717-80 | Кольцо | 4х306 | В наличии | |
| ОСТ 1 13717-80 | Кольцо | 4х316 | В наличии | |
| ОСТ 1 13717-80 | Кольцо | 4х326 | В наличии | |
| ОСТ 1 13717-80 | Кольцо | 4х336 | В наличии | |
| ОСТ 1 13717-80 | Кольцо | 4х346 | В наличии | |
| ОСТ 1 13717-80 | Кольцо | 4х356 | В наличии | |
| ОСТ 1 13717-80 | Кольцо | 4х366 | В наличии | |
| ОСТ 1 13717-80 | Кольцо | 4х376 | В наличии | |
| ОСТ 1 13717-80 | Кольцо | 4х385 | В наличии | |
| ОСТ 1 13717-80 | Кольцо | 4х395 | В наличии | |
| ОСТ 1 13717-80 | Кольцо | 4х405 | В наличии | |
| ОСТ 1 13717-80 | Кольцо | 4х425 | В наличии | |
| ОСТ 1 13717-80 | Кольцо | 4х445 | В наличии | |
| ОСТ 1 13717-80 | Кольцо | 4х455 | В наличии | |
| ОСТ 1 13717-80 | Кольцо | 4х465 | В наличии | |
| ОСТ 1 13717-80 | Кольцо | 4х485 | В наличии | |
| ОСТ 1 13717-80 | Кольцо | 4х505 | В наличии |
Для изготовителей и поставщиков: Добавить мои товары в базу
Для покупателей: Подать заявку на покупку
| Наименование | Типоразмер | Материал | Количество, шт | Вес, кг |
| Кольцо ОСТ 1 13717-80 |
ОСТ 1 30055-84 Накатка кольцевая стержней болт-заклепок из титанового сплава
ОСТ 1 31076-80 Маркировка крепежных изделий взамен НОРМАЛЬ 176АТ
ОСТ 1 31076-80: Маркировка крепежных изделий (взамен НОРМАЛЬ 176АТ)
ОСТ 1 39502-77 Стопорение болтов, винтов, шпилек, штифтов и гаек
ОСТ 1 39503-77 Длины болтов и винтов
ОСТ 1 39504-79 Головки шестигранные болтов и винтов
ОСТ 1 51730-79 Оснастка для формообразования концов труб тяг управления из сплава Д16Т
ОСТ 1 51731-79 Оснастка для формообразования концов труб тяг управления из сплава Д16Т
ОСТ 1.41001-79 Диаметры отверстий под нарезание резьбы метрической по нормали 754АТ
ОСТ 1.41002-79 Диаметры стержней под нарезание резьбы метрической по нормали 754АТ и ОСТ 1.00039-73
ОСТ 92-0762-72 Болты, винты из титановых сплавов
ОСТ 92-1130-85 Детали стальные точные
ОСТ 92-1179-77 Детали и сборочные единицы из сталей марок 07Х16Н6 и 08Х17Н5М3
ОСТ 92-8653-75 по ОСТ 92-8674-75 Соединения трубопроводов по внутреннему конусу
ОСТ 92-8843-77 Крепежные детали повышенного качества
ОСТ-1-33102-80 Взамен нормали 102АТУ Гайки ОСТ-1-33102-80
Отраслевая нормаль 214АТ В замен нормали 214МТ55 метрическая резьбой со свободной посадкой
Отраслевая нормаль 714М55 pdf Кольца плоские ,стопорные технические условия
Отраслевая нормаль авиационной техники 101АТУ Взамен 201СТУ51
2026 «Быстрометиз». Мы не интернет-магазин. Информация о наличии и стоимости продукции не является публичной офертой.
Задайте вопрос нашим специалистам