ОСТ 1 11418-74 ПРОКЛАДКИ КОЛЬЦЕВЫЕ РЕЗИНОВЫЕ ПРЯМОУГОЛЬНОГО СЕЧЕНИЯ
Прокладки кольцевые по ОСТ 1 11418-74 – это специальный крепеж, они предназначены для применения в неподвижных уплотнительных устройствах с различными рабочими средами.
КОНСТРУКЦИЯ И ТЕХНИЧЕСКИЕ ОСОБЕННОСТИ
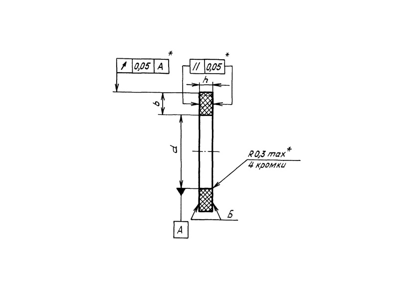
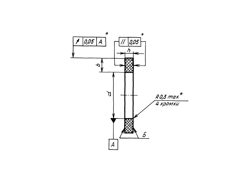
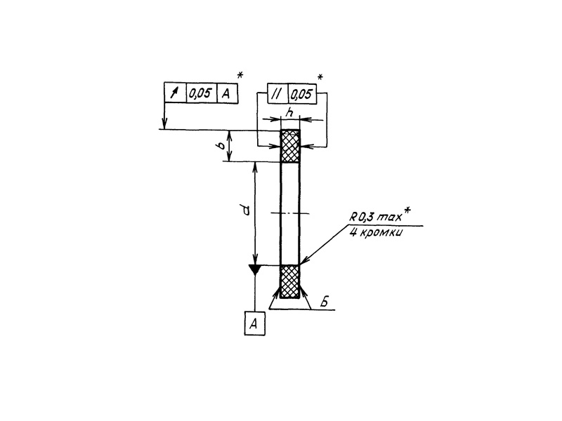
Конструкция прокладки состоит из резинового кольца.
Материал изготовления: резина марки ИРП-1338.
Материал покрытия: без покрытия.
Пример наименования и обозначения резиновой кольцевой прокладки прямоугольного сечения размерами d=10мм, b=2мм, h=2мм из резины марки В-14:
Прокладка 10-2-2-ОСТ 1 11408-74
То же, из резины марки ИРП-1338:
Прокладка 10-2-2-ОСТ 1 11418-74
ПРИМЕНЕНИЕ
Данные прокладки используются во многих отраслях промышленности.
АНАЛОГИ
| ОСТ/ГОСТ | Нормаль | Наименование | Типоразмер | На складе |
| ОСТ 1 11418-74 | Прокладка | 2,0х2,0 | В наличии | |
| ОСТ 1 11418-74 | Прокладка | 2,5х2,0 | В наличии | |
| ОСТ 1 11418-74 | Прокладка | 3,0х2,0 | В наличии | |
| ОСТ 1 11418-74 | Прокладка | 3,5х2,0 | В наличии | |
| ОСТ 1 11418-74 | Прокладка | 4,0х2,0 | В наличии | |
| ОСТ 1 11418-74 | Прокладка | 4,5х2,0 | В наличии | |
| ОСТ 1 11418-74 | Прокладка | 5,0х2,0 | В наличии | |
| ОСТ 1 11418-74 | Прокладка | 5,5х2,0 | В наличии | |
| ОСТ 1 11418-74 | Прокладка | 6,0х2,0 | В наличии | |
| ОСТ 1 11418-74 | Прокладка | 6,5х2,0 | В наличии | |
| ОСТ 1 11418-74 | Прокладка | 7,0х2,0 | В наличии | |
| ОСТ 1 11418-74 | Прокладка | 7,5х2,0 | В наличии | |
| ОСТ 1 11418-74 | Прокладка | 8,0х2,0 | В наличии | |
| ОСТ 1 11418-74 | Прокладка | 8,5х2,0 | В наличии | |
| ОСТ 1 11418-74 | Прокладка | 9,0х2,0 | В наличии | |
| ОСТ 1 11418-74 | Прокладка | 9,5х2,0 | В наличии | |
| ОСТ 1 11418-74 | Прокладка | 10,0х2,0 | В наличии | |
| ОСТ 1 11418-74 | Прокладка | 10,5х2,0 | В наличии | |
| ОСТ 1 11418-74 | Прокладка | 11,0х2,0 | В наличии | |
| ОСТ 1 11418-74 | Прокладка | 11,5х2,0 | В наличии | |
| ОСТ 1 11418-74 | Прокладка | 12,0х2,0 | В наличии | |
| ОСТ 1 11418-74 | Прокладка | 12,5х2,0 | В наличии | |
| ОСТ 1 11418-74 | Прокладка | 13,0х2,0 | В наличии | |
| ОСТ 1 11418-74 | Прокладка | 13,5х2,0 | В наличии | |
| ОСТ 1 11418-74 | Прокладка | 14,0х2,0 | В наличии | |
| ОСТ 1 11418-74 | Прокладка | 15,0х2,0 | В наличии | |
| ОСТ 1 11418-74 | Прокладка | 16,0х2,0 | В наличии | |
| ОСТ 1 11418-74 | Прокладка | 17,0х2,0 | В наличии | |
| ОСТ 1 11418-74 | Прокладка | 18,0х2,0 | В наличии | |
| ОСТ 1 11418-74 | Прокладка | 19,0х2,0 | В наличии | |
| ОСТ 1 11418-74 | Прокладка | 20,0х2,0 | В наличии | |
| ОСТ 1 11418-74 | Прокладка | 21,0х2,0 | В наличии | |
| ОСТ 1 11418-74 | Прокладка | 22,0х2,0 | В наличии | |
| ОСТ 1 11418-74 | Прокладка | 23,0х2,0 | В наличии | |
| ОСТ 1 11418-74 | Прокладка | 24,0х2,0 | В наличии | |
| ОСТ 1 11418-74 | Прокладка | 25,0х2,0 | В наличии | |
| ОСТ 1 11418-74 | Прокладка | 26,0х2,0 | В наличии | |
| ОСТ 1 11418-74 | Прокладка | 28,0х2,0 | В наличии | |
| ОСТ 1 11418-74 | Прокладка | 30,0х2,0 | В наличии | |
| ОСТ 1 11418-74 | Прокладка | 31,0х2,0 | В наличии | |
| ОСТ 1 11418-74 | Прокладка | 32,0х2,0 | В наличии | |
| ОСТ 1 11418-74 | Прокладка | 34,0х2,0 | В наличии | |
| ОСТ 1 11418-74 | Прокладка | 36,0х2,0 | В наличии | |
| ОСТ 1 11418-74 | Прокладка | 38,0х2,0 | В наличии | |
| ОСТ 1 11418-74 | Прокладка | 48,0х2,0 | В наличии | |
| ОСТ 1 11418-74 | Прокладка | 3,0х2,5 | В наличии | |
| ОСТ 1 11418-74 | Прокладка | 3,5х2,5 | В наличии | |
| ОСТ 1 11418-74 | Прокладка | 4,0х2,5 | В наличии | |
| ОСТ 1 11418-74 | Прокладка | 4,5х2,5 | В наличии | |
| ОСТ 1 11418-74 | Прокладка | 5,0х2,5 | В наличии | |
| ОСТ 1 11418-74 | Прокладка | 5,5х2,5 | В наличии | |
| ОСТ 1 11418-74 | Прокладка | 6,0х2,5 | В наличии | |
| ОСТ 1 11418-74 | Прокладка | 6,5х2,5 | В наличии | |
| ОСТ 1 11418-74 | Прокладка | 7,0х2,5 | В наличии | |
| ОСТ 1 11418-74 | Прокладка | 7,5х2,5 | В наличии | |
| ОСТ 1 11418-74 | Прокладка | 8,0х2,5 | В наличии | |
| ОСТ 1 11418-74 | Прокладка | 8,5х2,5 | В наличии | |
| ОСТ 1 11418-74 | Прокладка | 9,0х2,5 | В наличии | |
| ОСТ 1 11418-74 | Прокладка | 9,5х2,5 | В наличии | |
| ОСТ 1 11418-74 | Прокладка | 10,0х2,5 | В наличии | |
| ОСТ 1 11418-74 | Прокладка | 10,5х2,5 | В наличии | |
| ОСТ 1 11418-74 | Прокладка | 11,0х2,5 | В наличии | |
| ОСТ 1 11418-74 | Прокладка | 11,5х2,5 | В наличии | |
| ОСТ 1 11418-74 | Прокладка | 12,0х2,5 | В наличии | |
| ОСТ 1 11418-74 | Прокладка | 12,5х2,5 | В наличии | |
| ОСТ 1 11418-74 | Прокладка | 13,0х2,5 | В наличии | |
| ОСТ 1 11418-74 | Прокладка | 13,5х2,5 | В наличии | |
| ОСТ 1 11418-74 | Прокладка | 14,0х2,5 | В наличии | |
| ОСТ 1 11418-74 | Прокладка | 15,0х2,5 | В наличии | |
| ОСТ 1 11418-74 | Прокладка | 16,0х2,5 | В наличии | |
| ОСТ 1 11418-74 | Прокладка | 17,0х2,5 | В наличии | |
| ОСТ 1 11418-74 | Прокладка | 18,0х2,5 | В наличии | |
| ОСТ 1 11418-74 | Прокладка | 19,0х2,5 | В наличии | |
| ОСТ 1 11418-74 | Прокладка | 20,0х2,5 | В наличии | |
| ОСТ 1 11418-74 | Прокладка | 21,0х2,5 | В наличии | |
| ОСТ 1 11418-74 | Прокладка | 22,0х2,5 | В наличии | |
| ОСТ 1 11418-74 | Прокладка | 23,0х2,5 | В наличии | |
| ОСТ 1 11418-74 | Прокладка | 24,0х2,5 | В наличии | |
| ОСТ 1 11418-74 | Прокладка | 25,0х2,5 | В наличии | |
| ОСТ 1 11418-74 | Прокладка | 27,0х2,5 | В наличии | |
| ОСТ 1 11418-74 | Прокладка | 29,0х2,5 | В наличии | |
| ОСТ 1 11418-74 | Прокладка | 30,0х2,5 | В наличии | |
| ОСТ 1 11418-74 | Прокладка | 31,0х2,5 | В наличии | |
| ОСТ 1 11418-74 | Прокладка | 33,0х2,5 | В наличии | |
| ОСТ 1 11418-74 | Прокладка | 35,0х2,5 | В наличии | |
| ОСТ 1 11418-74 | Прокладка | 37,0х2,5 | В наличии | |
| ОСТ 1 11418-74 | Прокладка | 40,0х2,5 | В наличии | |
| ОСТ 1 11418-74 | Прокладка | 45,0х2,5 | В наличии | |
| ОСТ 1 11418-74 | Прокладка | 50,0х2,5 | В наличии | |
| ОСТ 1 11418-74 | Прокладка | 55,0х2,5 | В наличии | |
| ОСТ 1 11418-74 | Прокладка | 60,0х2,5 | В наличии | |
| ОСТ 1 11418-74 | Прокладка | 65,0х2,5 | В наличии | |
| ОСТ 1 11418-74 | Прокладка | 70,0х2,5 | В наличии | |
| ОСТ 1 11418-74 | Прокладка | 75,0х2,5 | В наличии | |
| ОСТ 1 11418-74 | Прокладка | 80,0х2,5 | В наличии | |
| ОСТ 1 11418-74 | Прокладка | 85,0х2,5 | В наличии | |
| ОСТ 1 11418-74 | Прокладка | 90,0х2,5 | В наличии | |
| ОСТ 1 11418-74 | Прокладка | 95,0х2,5 | В наличии | |
| ОСТ 1 11418-74 | Прокладка | 100,0х2,5 | В наличии | |
| ОСТ 1 11418-74 | Прокладка | 100,0х2,5 | В наличии | |
| ОСТ 1 11418-74 | Прокладка | 110,0х2,5 | В наличии | |
| ОСТ 1 11418-74 | Прокладка | 115,0х2,5 | В наличии | |
| ОСТ 1 11418-74 | Прокладка | 120,0х2,5 | В наличии | |
| ОСТ 1 11418-74 | Прокладка | 125,0х2,5 | В наличии | |
| ОСТ 1 11418-74 | Прокладка | 130,0х2,5 | В наличии | |
| ОСТ 1 11418-74 | Прокладка | 135,0х2,5 | В наличии | |
| ОСТ 1 11418-74 | Прокладка | 140,0х2,5 | В наличии | |
| ОСТ 1 11418-74 | Прокладка | 6,0х3,0 | В наличии | |
| ОСТ 1 11418-74 | Прокладка | 6,5х3,0 | В наличии | |
| ОСТ 1 11418-74 | Прокладка | 7,0х3,0 | В наличии | |
| ОСТ 1 11418-74 | Прокладка | 7,5х3,0 | В наличии | |
| ОСТ 1 11418-74 | Прокладка | 8,0х3,0 | В наличии | |
| ОСТ 1 11418-74 | Прокладка | 8,5х3,0 | В наличии | |
| ОСТ 1 11418-74 | Прокладка | 9,0х3,0 | В наличии | |
| ОСТ 1 11418-74 | Прокладка | 9,5х3,0 | В наличии | |
| ОСТ 1 11418-74 | Прокладка | 10,0х3,0 | В наличии | |
| ОСТ 1 11418-74 | Прокладка | 10,5х3,0 | В наличии | |
| ОСТ 1 11418-74 | Прокладка | 11,0х3,0 | В наличии | |
| ОСТ 1 11418-74 | Прокладка | 11,5х3,0 | В наличии | |
| ОСТ 1 11418-74 | Прокладка | 12,0х3,0 | В наличии | |
| ОСТ 1 11418-74 | Прокладка | 12,5х3,0 | В наличии | |
| ОСТ 1 11418-74 | Прокладка | 13,0х3,0 | В наличии | |
| ОСТ 1 11418-74 | Прокладка | 13,5х3,0 | В наличии | |
| ОСТ 1 11418-74 | Прокладка | 14,0х3,0 | В наличии | |
| ОСТ 1 11418-74 | Прокладка | 15,0х3,0 | В наличии | |
| ОСТ 1 11418-74 | Прокладка | 16,0х3,0 | В наличии | |
| ОСТ 1 11418-74 | Прокладка | 17,0х3,0 | В наличии | |
| ОСТ 1 11418-74 | Прокладка | 18,0х3,0 | В наличии | |
| ОСТ 1 11418-74 | Прокладка | 19,0х3,0 | В наличии | |
| ОСТ 1 11418-74 | Прокладка | 20,0х3,0 | В наличии | |
| ОСТ 1 11418-74 | Прокладка | 21,0х3,0 | В наличии | |
| ОСТ 1 11418-74 | Прокладка | 22,0х3,0 | В наличии | |
| ОСТ 1 11418-74 | Прокладка | 23,0х3,0 | В наличии | |
| ОСТ 1 11418-74 | Прокладка | 24,0х3,0 | В наличии | |
| ОСТ 1 11418-74 | Прокладка | 26,0х3,0 | В наличии | |
| ОСТ 1 11418-74 | Прокладка | 28,0х3,0 | В наличии | |
| ОСТ 1 11418-74 | Прокладка | 29,0х3,0 | В наличии | |
| ОСТ 1 11418-74 | Прокладка | 30,0х3,0 | В наличии | |
| ОСТ 1 11418-74 | Прокладка | 32,0х3,0 | В наличии | |
| ОСТ 1 11418-74 | Прокладка | 34,0х3,0 | В наличии | |
| ОСТ 1 11418-74 | Прокладка | 36,0х3,0 | В наличии | |
| ОСТ 1 11418-74 | Прокладка | 39,0х3,0 | В наличии | |
| ОСТ 1 11418-74 | Прокладка | 42,0х3,0 | В наличии | |
| ОСТ 1 11418-74 | Прокладка | 52,0х3,0 | В наличии | |
| ОСТ 1 11418-74 | Прокладка | 62,0х3,0 | В наличии | |
| ОСТ 1 11418-74 | Прокладка | 72,0х3,0 | В наличии | |
| ОСТ 1 11418-74 | Прокладка | 13,0х3,5 | В наличии | |
| ОСТ 1 11418-74 | Прокладка | 13,5х3,5 | В наличии | |
| ОСТ 1 11418-74 | Прокладка | 14,0х3,5 | В наличии | |
| ОСТ 1 11418-74 | Прокладка | 15,0х3,5 | В наличии | |
| ОСТ 1 11418-74 | Прокладка | 16,0х3,5 | В наличии | |
| ОСТ 1 11418-74 | Прокладка | 17,0х3,5 | В наличии | |
| ОСТ 1 11418-74 | Прокладка | 18,0х3,5 | В наличии | |
| ОСТ 1 11418-74 | Прокладка | 19,0х3,5 | В наличии | |
| ОСТ 1 11418-74 | Прокладка | 20,0х3,5 | В наличии | |
| ОСТ 1 11418-74 | Прокладка | 21,0х3,5 | В наличии | |
| ОСТ 1 11418-74 | Прокладка | 22,0х3,5 | В наличии | |
| ОСТ 1 11418-74 | Прокладка | 23,0х3,5 | В наличии | |
| ОСТ 1 11418-74 | Прокладка | 25,0х3,5 | В наличии | |
| ОСТ 1 11418-74 | Прокладка | 27,0х3,5 | В наличии | |
| ОСТ 1 11418-74 | Прокладка | 28,0х3,5 | В наличии | |
| ОСТ 1 11418-74 | Прокладка | 29,0х3,5 | В наличии | |
| ОСТ 1 11418-74 | Прокладка | 31,0х3,5 | В наличии | |
| ОСТ 1 11418-74 | Прокладка | 33,0х3,5 | В наличии | |
| ОСТ 1 11418-74 | Прокладка | 35,0х3,5 | В наличии | |
| ОСТ 1 11418-74 | Прокладка | 45,0х3,5 | В наличии | |
| ОСТ 1 11418-74 | Прокладка | 48,0х3,5 | В наличии | |
| ОСТ 1 11418-74 | Прокладка | 55,0х3,5 | В наличии | |
| ОСТ 1 11418-74 | Прокладка | 58,0х3,5 | В наличии | |
| ОСТ 1 11418-74 | Прокладка | 65,0х3,5 | В наличии | |
| ОСТ 1 11418-74 | Прокладка | 68,0х3,5 | В наличии | |
| ОСТ 1 11418-74 | Прокладка | 75,0х3,5 | В наличии | |
| ОСТ 1 11418-74 | Прокладка | 78,0х3,5 | В наличии | |
| ОСТ 1 11418-74 | Прокладка | 85,0х3,5 | В наличии | |
| ОСТ 1 11418-74 | Прокладка | 95,0х3,5 | В наличии | |
| ОСТ 1 11418-74 | Прокладка | 105,0х3,5 | В наличии | |
| ОСТ 1 11418-74 | Прокладка | 115,0х3,5 | В наличии | |
| ОСТ 1 11418-74 | Прокладка | 125,0х3,5 | В наличии | |
| ОСТ 1 11418-74 | Прокладка | 135,0х3,5 | В наличии | |
| ОСТ 1 11418-74 | Прокладка | 145,0х3,5 | В наличии | |
| ОСТ 1 11418-74 | Прокладка | 30,0х4,0 | В наличии | |
| ОСТ 1 11418-74 | Прокладка | 32,0х4,0 | В наличии | |
| ОСТ 1 11418-74 | Прокладка | 34,0х4,0 | В наличии | |
| ОСТ 1 11418-74 | Прокладка | 37,0х4,0 | В наличии | |
| ОСТ 1 11418-74 | Прокладка | 40,0х4,0 | В наличии | |
| ОСТ 1 11418-74 | Прокладка | 42,0х4,0 | В наличии | |
| ОСТ 1 11418-74 | Прокладка | 50,0х3,5 | В наличии | |
| ОСТ 1 11418-74 | Прокладка | 52,0х4,0 | В наличии | |
| ОСТ 1 11418-74 | Прокладка | 60,0х4,0 | В наличии | |
| ОСТ 1 11418-74 | Прокладка | 62,0х4,0 | В наличии | |
| ОСТ 1 11418-74 | Прокладка | 70,0х4,0 | В наличии | |
| ОСТ 1 11418-74 | Прокладка | 72,0х4,0 | В наличии | |
| ОСТ 1 11418-74 | Прокладка | 80,0х4,0 | В наличии | |
| ОСТ 1 11418-74 | Прокладка | 90,0х4,0 | В наличии | |
| ОСТ 1 11418-74 | Прокладка | 100,0х4,0 | В наличии | |
| ОСТ 1 11418-74 | Прокладка | 110,0х4,0 | В наличии | |
| ОСТ 1 11418-74 | Прокладка | 120,0х4,0 | В наличии | |
| ОСТ 1 11418-74 | Прокладка | 130,0х4,0 | В наличии | |
| ОСТ 1 11418-74 | Прокладка | 140,0х4,0 | В наличии | |
| ОСТ 1 11418-74 | Прокладка | 150,0х4,0 | В наличии | |
| ОСТ 1 11418-74 | Прокладка | 32,0х5,0 | В наличии | |
| ОСТ 1 11418-74 | Прокладка | 35,0х5,0 | В наличии | |
| ОСТ 1 11418-74 | Прокладка | 38,0х5,0 | В наличии | |
| ОСТ 1 11418-74 | Прокладка | 40,0х5,0 | В наличии | |
| ОСТ 1 11418-74 | Прокладка | 42,0х5,0 | В наличии | |
| ОСТ 1 11418-74 | Прокладка | 45,0х5,0 | В наличии | |
| ОСТ 1 11418-74 | Прокладка | 48,0х5,0 | В наличии | |
| ОСТ 1 11418-74 | Прокладка | 50,0х5,0 | В наличии | |
| ОСТ 1 11418-74 | Прокладка | 52,0х5,0 | В наличии | |
| ОСТ 1 11418-74 | Прокладка | 55,0х5,0 | В наличии | |
| ОСТ 1 11418-74 | Прокладка | 58,0х5,0 | В наличии | |
| ОСТ 1 11418-74 | Прокладка | 60,0х5,0 | В наличии | |
| ОСТ 1 11418-74 | Прокладка | 62,0х5,0 | В наличии | |
| ОСТ 1 11418-74 | Прокладка | 65,0х5,0 | В наличии | |
| ОСТ 1 11418-74 | Прокладка | 68,0х5,0 | В наличии | |
| ОСТ 1 11418-74 | Прокладка | 70,0х5,0 | В наличии | |
| ОСТ 1 11418-74 | Прокладка | 72,0х5,0 | В наличии | |
| ОСТ 1 11418-74 | Прокладка | 75,0х5,0 | В наличии | |
| ОСТ 1 11418-74 | Прокладка | 78,0х5,0 | В наличии | |
| ОСТ 1 11418-74 | Прокладка | 80,0х5,0 | В наличии | |
| ОСТ 1 11418-74 | Прокладка | 85,0х5,0 | В наличии | |
| ОСТ 1 11418-74 | Прокладка | 90,0х5,0 | В наличии | |
| ОСТ 1 11418-74 | Прокладка | 95,0х5,0 | В наличии | |
| ОСТ 1 11418-74 | Прокладка | 100,0х5,0 | В наличии | |
| ОСТ 1 11418-74 | Прокладка | 105,0х5,0 | В наличии | |
| ОСТ 1 11418-74 | Прокладка | 110,0х5,0 | В наличии | |
| ОСТ 1 11418-74 | Прокладка | 115,0х5,0 | В наличии | |
| ОСТ 1 11418-74 | Прокладка | 120,0х5,0 | В наличии | |
| ОСТ 1 11418-74 | Прокладка | 125,0х5,0 | В наличии | |
| ОСТ 1 11418-74 | Прокладка | 130,0х5,0 | В наличии | |
| ОСТ 1 11418-74 | Прокладка | 135,0х5,0 | В наличии | |
| ОСТ 1 11418-74 | Прокладка | 140,0х5,0 | В наличии | |
| ОСТ 1 11418-74 | Прокладка | 145,0х5,0 | В наличии | |
| ОСТ 1 11418-74 | Прокладка | 150,0х5,0 | В наличии | |
| ОСТ 1 11418-74 | Прокладка | 40,0х6,0 | В наличии | |
| ОСТ 1 11418-74 | Прокладка | 45,0х6,0 | В наличии | |
| ОСТ 1 11418-74 | Прокладка | 48,0х6,0 | В наличии | |
| ОСТ 1 11418-74 | Прокладка | 50,0х6,0 | В наличии | |
| ОСТ 1 11418-74 | Прокладка | 52,0х6,0 | В наличии | |
| ОСТ 1 11418-74 | Прокладка | 58,0х6,0 | В наличии | |
| ОСТ 1 11418-74 | Прокладка | 60,0х6,0 | В наличии | |
| ОСТ 1 11418-74 | Прокладка | 65,0х6,0 | В наличии | |
| ОСТ 1 11418-74 | Прокладка | 68,0х6,0 | В наличии | |
| ОСТ 1 11418-74 | Прокладка | 70,0х6,0 | В наличии | |
| ОСТ 1 11418-74 | Прокладка | 78,0х6,0 | В наличии | |
| ОСТ 1 11418-74 | Прокладка | 80,0х6,0 | В наличии | |
| ОСТ 1 11418-74 | Прокладка | 85,0х6,0 | В наличии | |
| ОСТ 1 11418-74 | Прокладка | 90,0х6,0 | В наличии | |
| ОСТ 1 11418-74 | Прокладка | 100,0х6,0 | В наличии | |
| ОСТ 1 11418-74 | Прокладка | 110,0х6,0 | В наличии | |
| ОСТ 1 11418-74 | Прокладка | 120,0х6,0 | В наличии | |
| ОСТ 1 11418-74 | Прокладка | 130,0х6,0 | В наличии | |
| ОСТ 1 11418-74 | Прокладка | 140,0х6,0 | В наличии | |
| ОСТ 1 11418-74 | Прокладка | 150,0х6,0 | В наличии |
Для изготовителей и поставщиков: Добавить мои товары в базу
Для покупателей: Подать заявку на покупку
| Наименование | Типоразмер | Материал | Количество, шт | Вес, кг |
| Прокладка ОСТ 1 11418-74 |
ОСТ 1 30055-84 Накатка кольцевая стержней болт-заклепок из титанового сплава
ОСТ 1 31076-80 Маркировка крепежных изделий взамен НОРМАЛЬ 176АТ
ОСТ 1 31076-80: Маркировка крепежных изделий (взамен НОРМАЛЬ 176АТ)
ОСТ 1 39502-77 Стопорение болтов, винтов, шпилек, штифтов и гаек
ОСТ 1 39503-77 Длины болтов и винтов
ОСТ 1 39504-79 Головки шестигранные болтов и винтов
ОСТ 1 51730-79 Оснастка для формообразования концов труб тяг управления из сплава Д16Т
ОСТ 1 51731-79 Оснастка для формообразования концов труб тяг управления из сплава Д16Т
ОСТ 1.41001-79 Диаметры отверстий под нарезание резьбы метрической по нормали 754АТ
ОСТ 1.41002-79 Диаметры стержней под нарезание резьбы метрической по нормали 754АТ и ОСТ 1.00039-73
ОСТ 92-0762-72 Болты, винты из титановых сплавов
ОСТ 92-1130-85 Детали стальные точные
ОСТ 92-1179-77 Детали и сборочные единицы из сталей марок 07Х16Н6 и 08Х17Н5М3
ОСТ 92-8653-75 по ОСТ 92-8674-75 Соединения трубопроводов по внутреннему конусу
ОСТ 92-8843-77 Крепежные детали повышенного качества
ОСТ-1-33102-80 Взамен нормали 102АТУ Гайки ОСТ-1-33102-80
Отраслевая нормаль 214АТ В замен нормали 214МТ55 метрическая резьбой со свободной посадкой
Отраслевая нормаль 714М55 pdf Кольца плоские ,стопорные технические условия
Отраслевая нормаль авиационной техники 101АТУ Взамен 201СТУ51
2026 «Быстрометиз». Мы не интернет-магазин. Информация о наличии и стоимости продукции не является публичной офертой.
Задайте вопрос нашим специалистам