ОСТ 1 11543-74 Ролики металлические одноканавочные на шарикоподшипниках

ОСТ 1 11543-74 РОЛИКИ МЕТАЛЛИЧЕСКИЕ ОДНОКАНАВОЧНЫЕ НА ШАРИКОПОДШИПНИКАХ

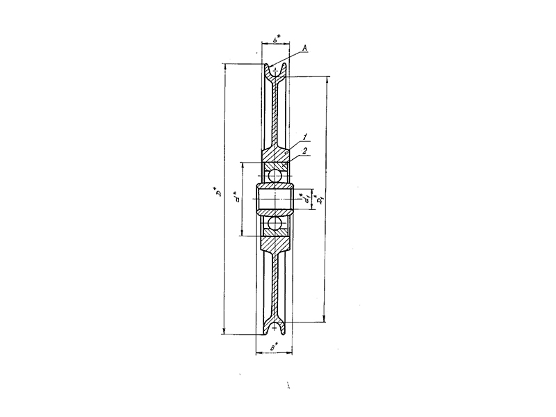
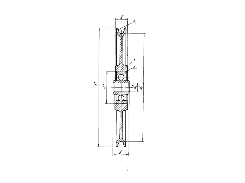
     Ролики металлические одноканавочные по ОСТ 1 11543-74 - это особый крепеж, применяемый в тросовых проводках для изменения направления движения и поддержки стальных канатов. Взамен нормалей 1199С50, 6723А, 67С50.

КОНСТРУКЦИЯ И ТЕХНИЧЕСКИЕ ОСОБЕННОСТИ

     Конструкция состоит из конструктивного металлического элемента вытянутой формы.

     Материал изготовления: Д16Т.

     Материал покрытия: эмаль.

ОСТ 1 11543-74.pdf

Пример наименования и обозначения металлического одноканавочного ролика на шарикоподшипнике типоразмера 6:

Ролик 6-ОСТ 1 11543-74

Ролик
Наименование метиза
6
Типоразмер
ОСТ 1 11543-74
Нормативно-технический документ

ПРИМЕНЕНИЕ

     Данные ролики предназначены для эксплуатации в различных климатических условиях в диапазоне температур от минус 60 до плюс 120 градусов цельсия.

АНАЛОГИ

Нормали 1199С50, 6723А, 67С50.

ОСТ/ГОСТНормальНаименованиеТипоразмерНа складе
ОСТ 1 11543-741199С50, 6723А, 67С50Ролик1В наличии
ОСТ 1 11543-741199С50, 6723А, 67С50Ролик2В наличии
ОСТ 1 11543-741199С50, 6723А, 67С50Ролик3В наличии
ОСТ 1 11543-741199С50, 6723А, 67С50Ролик4В наличии
ОСТ 1 11543-741199С50, 6723А, 67С50Ролик5В наличии
ОСТ 1 11543-741199С50, 6723А, 67С50Ролик6В наличии
ОСТ 1 11543-741199С50, 6723А, 67С50Ролик7В наличии
ОСТ 1 11543-741199С50, 6723А, 67С50Ролик8В наличии
ОСТ 1 11543-741199С50, 6723А, 67С50Ролик9В наличии
ОСТ 1 11543-741199С50, 6723А, 67С50Ролик10В наличии
ОСТ 1 11543-741199С50, 6723А, 67С50Ролик11В наличии
ОСТ 1 11543-741199С50, 6723А, 67С50Ролик12В наличии
ОСТ 1 11543-741199С50, 6723А, 67С50Ролик13В наличии
ОСТ 1 11543-741199С50, 6723А, 67С50Ролик14В наличии
ОСТ 1 11543-741199С50, 6723А, 67С50Ролик15В наличии
ОСТ 1 11543-741199С50, 6723А, 67С50Ролик16В наличии
ОСТ 1 11543-741199С50, 6723А, 67С50Ролик17В наличии
ОСТ 1 11543-741199С50, 6723А, 67С50Ролик18В наличии
ОСТ 1 11543-741199С50, 6723А, 67С50Ролик19В наличии
ОСТ 1 11543-741199С50, 6723А, 67С50Ролик20В наличии
ОСТ 1 11543-741199С50, 6723А, 67С50Ролик21В наличии
ОСТ 1 11543-741199С50, 6723А, 67С50Ролик22В наличии
ОСТ 1 11543-741199С50, 6723А, 67С50Ролик23В наличии
ОСТ 1 11543-741199С50, 6723А, 67С50Ролик24В наличии
ОСТ 1 11543-741199С50, 6723А, 67С50Ролик25В наличии
ОСТ 1 11543-741199С50, 6723А, 67С50Ролик26В наличии
ОСТ 1 11543-741199С50, 6723А, 67С50Ролик27В наличии
ОСТ 1 11543-741199С50, 6723А, 67С50Ролик28В наличии
ОСТ 1 11543-741199С50, 6723А, 67С50Ролик29В наличии
ОСТ 1 11543-741199С50, 6723А, 67С50Ролик30В наличии
ОСТ 1 11543-741199С50, 6723А, 67С50Ролик31В наличии
ОСТ 1 11543-741199С50, 6723А, 67С50Ролик32В наличии
ОСТ 1 11543-741199С50, 6723А, 67С50Ролик33В наличии
ОСТ 1 11543-741199С50, 6723А, 67С50Ролик34В наличии
ОСТ 1 11543-741199С50, 6723А, 67С50Ролик35В наличии
ОСТ 1 11543-741199С50, 6723А, 67С50Ролик36В наличии

Для изготовителей и поставщиков: Добавить мои товары в базу

Для покупателей: Подать заявку на покупку

НаименованиеТипоразмерМатериалКоличество, штВес, кг
Ролик ОСТ 1 11543-74 1199С50, 6723А, 67С50
О

ОСТ 1 30055-84 Накатка кольцевая стержней болт-заклепок из титанового сплава

ОСТ 1 31076-80 Маркировка крепежных изделий взамен НОРМАЛЬ 176АТ

ОСТ 1 31076-80: Маркировка крепежных изделий (взамен НОРМАЛЬ 176АТ)

ОСТ 1 38016-80 Футорки

ОСТ 1 38020-82 Втулки

ОСТ 1 39502-77 Стопорение болтов, винтов, шпилек, штифтов и гаек

ОСТ 1 39503-77 Длины болтов и винтов

ОСТ 1 39504-79 Головки шестигранные болтов и винтов

ОСТ 1 41471-79 Формообразование концов труб тяг управления из сплава Д16Т. Типовой технологический процесс

ОСТ 1 51730-79 Оснастка для формообразования концов труб тяг управления из сплава Д16Т

ОСТ 1 51731-79 Оснастка для формообразования концов труб тяг управления из сплава Д16Т

ОСТ 1.41001-79 Диаметры отверстий под нарезание резьбы метрической по нормали 754АТ

ОСТ 1.41002-79 Диаметры стержней под нарезание резьбы метрической по нормали 754АТ и ОСТ 1.00039-73

ОСТ 92-0762-72 Болты, винты из титановых сплавов

ОСТ 92-0912-69 Детали из высокопрочных углеродистых легированных и высоколегированных сталей. ОСТ 92-0912-69

ОСТ 92-1130-85 Детали стальные точные

ОСТ 92-1179-77 Детали и сборочные единицы из сталей марок 07Х16Н6 и 08Х17Н5М3

ОСТ 92-8653-75 по ОСТ 92-8674-75 Соединения трубопроводов по внутреннему конусу

ОСТ 92-8843-77 Крепежные детали повышенного качества

ОСТ-1-33102-80 Взамен нормали 102АТУ Гайки ОСТ-1-33102-80

Отраслевая нормаль 214АТ В замен нормали 214МТ55 метрическая резьбой со свободной посадкой

Отраслевая нормаль 714М55 pdf Кольца плоские ,стопорные технические условия

Отраслевая нормаль авиационной техники 101АТУ Взамен 201СТУ51

Отраслевая нормаль авиационной техники. Нормаль 722АТ.

Р

РЕЗЬБА МЕТРИЧЕСКАЯ

Резьба метрическая усиленная тугой посадкой сталь в алюминиевые и магниевые сплавы. Нормаль 254АТ взамен нормальный 154МТ46

Резьба метрическая. Основные размеры и допуски. Отраслевая нормаль 257АТ взамен 57АТ50 взамен 153МТ54.

РЕЗЬБА ТРАПЕЦЕИДАЛЬНАЯ

РЕЗЬБА ТРУБНАЯ ЦИЛИНДРИЧЕСКАЯ

РЕЗЬБА УПОРНАЯ

Резьба усиленная метрическая тугой посадкой сталь сталь система вала настоящая норма распространяется на резьбу усиленную метрическую тугой посадкой для сопрягаемых материалов сталь в сталь. Нормаль 122МТ53 взамен нормали 122МТ51

Резьба усиленная метрическая тугой посадкой сталь сталь система вала настоящая норма распространяется на резьбу усиленную метрическую тугой посадкой для сопрягаемых материалов сталь в сталь. Нормаль 122МТ53 взамен нормали 122МТ51

Резьбовые соединения. Резьба метрическая с натягом по посадкам 2Н5Д и 2Н5С Отраслевой стандарт ОСТ 1 04065–92

Оформите заказ или получите консультацию